• 05.04.2026, 02:09
  • Registrieren
  • Anmelden
  • Sie sind nicht angemeldet.

 

Kraf

Newbie

Verständnis Hilfe benötigt zu Sensoren in der Aquasuite

Mittwoch, 16. April 2025, 14:19

Hallo zusammen,

allem Anschein nach benötige ich ein etwas tiefgehenderes Verständnis von den Aquasuite Verwendungs- und Einstellungsmöglichkeiten.

Ich bin gerade dabei mir meinen ersten vollüberwachten Aquacomputer Loop zu erstellen,
habe aber keine Ahnung ob sich das dann alles auch irgendwie verbinden lassen wird und sinnvoll in der Software verarbeitet werden kann.

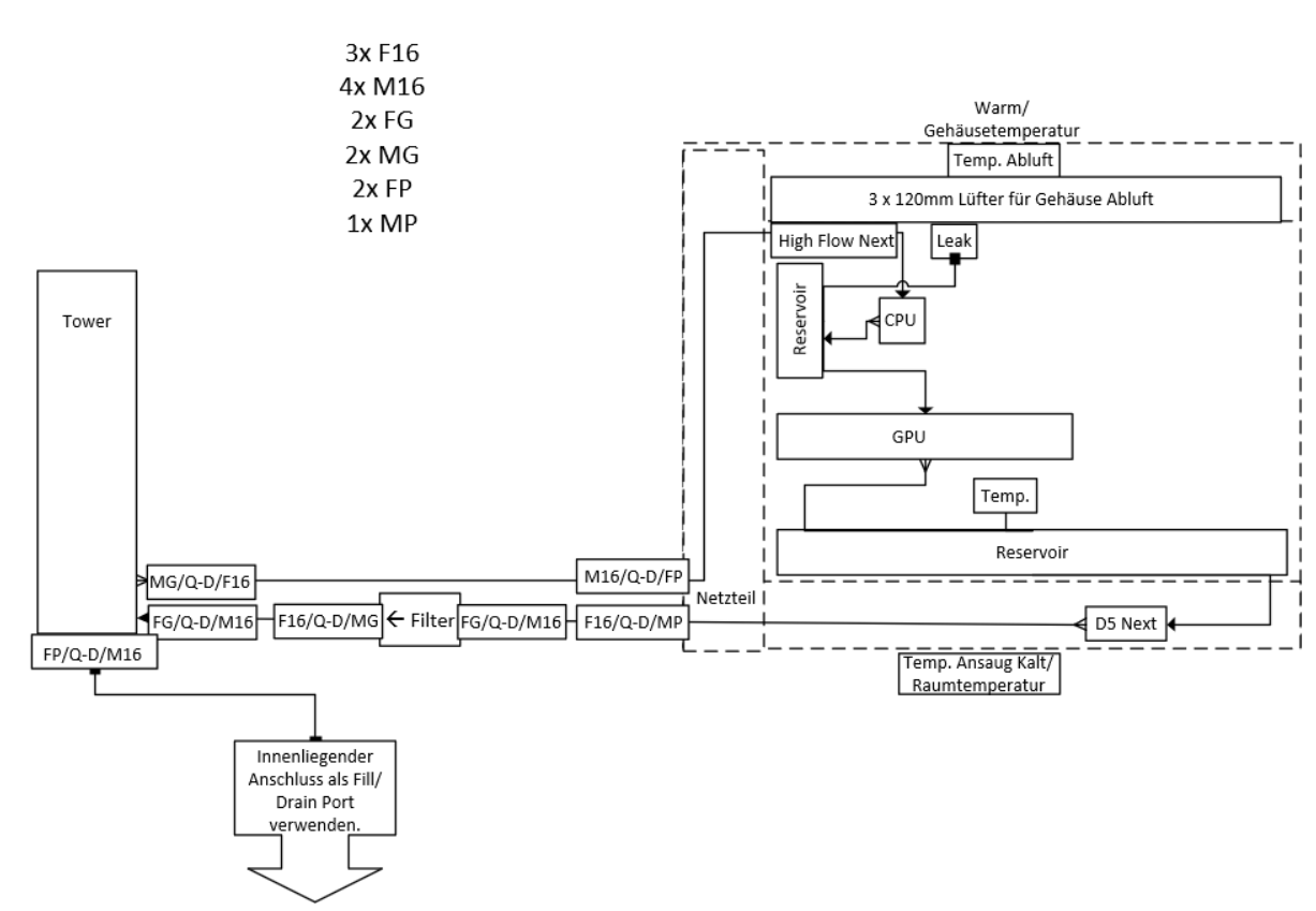
Ich kann euch dazu folgendes Schema teilen: Phanteks Evolv X2 mit Airplex Gigant.PNG

Ich habe beim Evolv X2 case den unteren Lüfterplatz mit einem 360er Distro Reservoir verbaut und ein 120er Distro Reservoir anstelle des hinteren Gehäuselüfters,

das nur bis zur hälfte gefüllt sein wird damit der Leakshield eine ausreichende Luftblase zum druckregulieren hat.

Zwischen Tower und Evolv X2 habe ich alles mit Koolance QD3 10/16 Anschlüssen ausgeführt um mir die Kugelhähne und T-Splitter zu sparen.

Flussrichtung habe ich immer vom Male zum Female damit ich nach belieben umstecken kann.

M16 = Male 16/10 Schlauchanschluss

F16 = Female 16/10 Schlauchanschluss
MG = Male Gewinde
FG = Female Gewinde
FP = Female Panel Gehäusedurchführung
MP = Male Panel Gehäusedurchführung

Ich verwende nur den GIGANT als T-Stück um einen Fill / Drain Schlauchanschluss anbringen zu können und mit dem Leakshield ansaugen zu können.

(PS: ich werde hier noch einmal umplanen und den abschraubbaren Filter als drain Port verwenden und einfach dort auftrennen und den Zulauf zum Tower als fill Port verwenden mit dem M16 und angeschlossenem 10/16 Schlauch im Kanister)

Ich würde mir folgendes von Aquacomputer bestellen:

Airplex GIGANT 1680 Tower
Leakshield Standalone
D5 Next + Ultitop D5 (Signal in PWM von High Flow)
High Flow Next (Temp Sensor IN / Signal out)
Temperatursensor G1/4 high speed
Quadro Lüftersteuerung
incl. 75cm Temperatursensor
15cm Temperatursensor extra
Verbindungskabel Alarm aus dem Leakshield zur Not-Abschaltung

Ich kann doch sicher in der Aquasuite wo alle Sensoren und Inputs zusammen kommen auch festlegen was alles eintreten muss um den Output am Leakshield zu triggern?

Füllstand Threshold unterschritten / Leck detektiert
oder. Temperatur des Kühlwassers über 60°C
oder. Flow 0 l/h für länger als 10 Sekunden (D5 defekt)

Verbindungskabel Signalausgang high flow Next zu Lüfterstecker?


Da die D5 Next mit dem internen Flowsensor scheinbar sehr ungenau sein soll kopple ich die einfach zusammen mit dem High Flow Next um hoffentlich die Genauigkeit des Waterflowsensor zu erhöhen.
Oder funktioniert das auch über die USB Schnittstellen beider Geräte in der Aquasuite Software?

Jetzt sollte ich ja nach dem Schema über einen Kaltwasser Sensor mit dem High Flow Next vor der CPU und GPU haben.
Der Warmwasser Sensor aus dem unteren Distroplate-Reservoir könnte ich koppeln mit dem aus der D5 Next die gleich darauf folgt, wenn das Software technisch möglich ist.

Die 2 Lufttemperatur Sensoren werde ich auch in Abluft und Ansaugluft unterscheiden also Warm und Kalt um die einzigen 3x 120mm Gehäuse Lüfter nur dann einzuschalten wenn unbedingt nötig.
Ich hätte ja am liebsten keine Gehäuselüfter verbaut, aber das soll scheinbar nicht möglich sein auch wenn ich noch die RAM´s und Spannungswandler vom Mainboard mit Wasser kühle.

Im Tower habe ich dann 2 Fractal Design Lüfter Dynamic X2 GP18 PWM verbaut die ich mit Y-Verbinder und zahlreichen verlängerungskabeln zum Quadro verbinde die für die Wasserkühlung zuständig sind.

Soll ich noch einen Temperatursensor im Inneren am Mainboard anbringen oder kann ich irgend einen Mainboard internen Temperatursensor in die Aquasuite reinholen?


Vielen Dank für die Hilfe schon mal im Voraus!
»Kraf« hat folgendes Bild angehängt:
  • Phanteks Evolv X2 mit Airplex Gigant.PNG

Dieser Beitrag wurde bereits 6 mal editiert, zuletzt von »Kraf« (17. April 2025, 11:53)

EnigmaG

Senior Member

Mittwoch, 23. April 2025, 01:17

Solange die Aquasute Software läuft kannst du alle Sensoren über usb abrufen und auch die Hauptplatine einbinden. Notabschaltung über Verbindungskabel ist meiner Meinung nach Overkill.

Zitat

"Ich kann doch sicher in der Aquasuite wo alle Sensoren und Inputs zusammen kommen auch festlegen was alles eintreten muss um den Output am Leakshield zu triggern?"
Nein, außerdem solange die AS läuft kannst du den PC von der AS ausschalten lasen. Leakshield mit Verbindungskabel kann bei Lecks die Power taste kurz oder lang drücken, ohne kann es dem PC mit Windows Tastenbefehl ausschalten.
»EnigmaG« hat folgendes Bild angehängt:
  • as.png